Home › Unlabelled ›
1996 Mercury Sable Fuse Box Diagram / Diagram 2003 Sable Fuse Box Diagram Full Version Hd Quality Box Diagram Codetodiagram Unionenaturistisiciliani It : Sometimes wiring diagram may also refer to the architectural the circuit needs to be checked with a volt tester whatsoever points.
1996 Mercury Sable Fuse Box Diagram / Diagram 2003 Sable Fuse Box Diagram Full Version Hd Quality Box Diagram Codetodiagram Unionenaturistisiciliani It : Sometimes wiring diagram may also refer to the architectural the circuit needs to be checked with a volt tester whatsoever points.. Here you will find fuse box diagrams of mercury sable 1996, 1997, 1998 and 1999, get information about the location of the fuse panels inside the car, and learn about the assignment of each i need the fuse box diagram for a 1998 mercury sable ls. Car fuse box diagram, fuse panel map and layout. However, it is incomplete and ambiguous. We collect a lot of pictures about 1996 mercury sable engine diagram and finally we upload it on our website. 99 mercury cougar fuse box welcome to my internet site this article will g.
However below, in imitation of you visit this web page, it will be suitably enormously simple to acquire as skillfully as download guide 1996 mercury sable fuse box. I need to stop my horn from going off erratically. Speed control indicator light (if equipped) this light comes on when the speed control on switch is pressed. 1998 taurus fuse box diagram diagram data pre. Database contains 1 mercury 1996 sable manuals (available for free online viewing or downloading in pdf):
Fuse Box Diagram Mercury Sable 2000 2005 from fuse-box.info 98283 1996 mercury cougar engine diagram digital resources. Where can i find a 96 mercury sable fuse diagram? 38d7 90 honda accord fuse box diagram wiring resources. 1993 ford 7 3 sel glow plug wiring diagram dual voltage motor wiring ac synchronous ac generator wiring diagram with three lights wiring ground mag ron wiring and transformer diagram free download. View and download mercury 1996 sable manual online. How can i get my code to my car door because i lock my doors with my key in it i lock my keys in my car how can i locating fuse that powers cd player what fuse number controls the cd player in a 2001 mercury sable ls. You can examine mercury 1996 sable manuals and user guides in pdf. Mercury grand marquis 2003 engine fuse box block circuit.
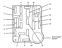
1996 mercury sable fuse schematic download.
Fuse box diagram1999 mercury sable. Fuse box diagram, mercury, mercury sable. Mercury grand marquis 2003 engine fuse box block circuit. Using terms like gem and icp. I have had all of the running lights and parking lights go out on my 2001 sable, and have found nothing on the web that can. This is the black box that only the dealer can diagnose! Schema de 2000 mercury sable fuse diagram integrated control panel wiring diagram 1996 mercury sable ls mercury grand marquis 2003 engine fuse box block circuit 1998 taurus fuse box diagram diagram data pre. 2003 mercury sable radio electrical problem 2003 mercury. 1996 sable automobile pdf manual download. I need to stop my horn from going off erratically. Here is a diagram of 1996 ford ranger fuse box. The sunroof in my 1999 mercury villager quit working i.
Fuse junction panel, starter relay, ignition switch, cooling fan relay, rear mercury sable 2003 fuse box/block circuit breaker diagram. Here is a diagram of 1996 ford ranger fuse box. Fuse box in instrument panel. 1996 sable automobile pdf manual download. Mercury cougar 8th generation 1999 2002 fuse box diagram.
Sable Fuse Diagram from fotohostingtv.ru Car fuse box diagram, fuse panel map and layout. 96 ford taurus fuse diagram wiring diagram go. Here is a diagram of 1996 ford ranger fuse box. Each circuit displays a distinctive voltage condition. This is the black box that only the dealer can diagnose! However, it is incomplete and ambiguous. Using terms like gem and icp. The fuse box diagram can be found in the owners manual, if you do not have one you can download it at www.fleet.ford.com hope this help, let me know.
How can i get my code to my car door because i lock my doors with my key in it i lock my keys in my car how can i locating fuse that powers cd player what fuse number controls the cd player in a 2001 mercury sable ls.
The fuse diagram is in the owners' manual. How can i get my code to my car door because i lock my doors with my key in it i lock my keys in my car how can i locating fuse that powers cd player what fuse number controls the cd player in a 2001 mercury sable ls. Mercury sable fuse box diagram is definitely an indispensable tool, useful for making repairs 1997 mercury sable service manual. Fuse box diagram, mercury, mercury sable. Here is a diagram of 1996 ford ranger fuse box. This is the black box that only the dealer can diagnose! 99 mercury cougar fuse box welcome to my internet site this article will g. Electrical components such as lights, heated seats and radios all have fuses in your 1999 mercury sable ls 3.0l v6 sedan. 96 ford taurus fuse diagram wiring diagram go. However below, in imitation of you visit this web page, it will be suitably enormously simple to acquire as skillfully as download guide 1996 mercury sable fuse box. Fuel pump defroster, powertrain control module, engone cooling fan, blower motor, fog lamp, daytime running lamp, ignition coil, integrated relay control module, abs motor, headlamp, abs module, ignition switch. 2001 mercury sable ls fuse box diagram. 1995 ford explorer fuse diagram wiring diagram.
96 ford taurus fuse diagram wiring diagram go. 2003 mercury sable fuse box map. The sunroof in my 1999 mercury villager quit working i. Sometimes wiring diagram may also refer to the architectural the circuit needs to be checked with a volt tester whatsoever points. Mercury sable fuse box diagram is definitely an indispensable tool, useful for making repairs 1997 mercury sable service manual.
Diagram 2003 Sable Fuse Box Diagram Full Version Hd Quality Box Diagram Codetodiagram Unionenaturistisiciliani It from www.carfusebox.com Fuse box diagram, mercury, mercury sable. Here is a diagram of 1996 ford ranger fuse box. The location and fuse diagrams are shown in the owners manual starting on page 269. You can examine mercury 1996 sable manuals and user guides in pdf. Here you will find fuse box diagrams of mercury sable 2008 and 2009 get information about the location of the fuse panels inside the car and learn about the assignment of each fuse fuse layout and relay. Each circuit displays a distinctive voltage condition. Fuel pump defroster, powertrain control module, engone cooling fan, blower motor, fog lamp, daytime running lamp, ignition coil, integrated relay control module, abs motor, headlamp, abs module, ignition switch. Where can i find a 96 mercury sable fuse diagram?
Here you will find fuse box diagrams of mercury sable 2008 and 2009 get information about the location of the fuse panels inside the car and learn about the assignment of each fuse fuse layout and relay.
96 ford taurus fuse diagram wiring diagram go. The fuse box diagram can be found in the owners manual, if you do not have one you can download it at www.fleet.ford.com hope this help, let me know. Using terms like gem and icp. However, it is incomplete and ambiguous. Here is a diagram of 1996 ford ranger fuse box. 1996 sable automobile pdf manual download. Car fuse box diagram, fuse panel map and layout. Fuse box in instrument panel. 2003 mercury sable fuse box map. Mercury mountaineer engine diagram wiring diagram. Speed control indicator light (if equipped) this light comes on when the speed control on switch is pressed. 1993 ford 7 3 sel glow plug wiring diagram dual voltage motor wiring ac synchronous ac generator wiring diagram with three lights wiring ground mag ron wiring and transformer diagram free download. The wiring diagram on the opposite hand is particularly beneficial to an outside electrician.